Michelin Ungkap Konsep Sepatbor Belakang Canggih Pakai Motor Listrik!

Yuka Samudera - Sabtu, 23 Januari 2021 | 18:20 WIB
Motorcycle.com
Michelin ungkap konsep sepatbor belakang canggih pakai motor listrik!

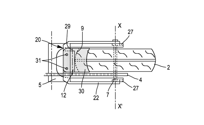
Di gambar paten tersebut, dijelaskan bahwa motor DC 3.6V ini dapat meningkatkan torsi hingga 2-4 Nm.

Menurut Michelin, tenaga ini cukup untuk menggerakkan motor dengan kecepatan 1 km/jam.

Motorcycle.com
Gambar paten sepatbor belakang canggih dari Michelin.

Mungkin terdengar kecil, namun ini membantu untuk mendorong motor ke depan loh brother!

Nah hal ini lumayan sangat membantu dalam banyak situasi yang tidak terduga.

Baca Juga: Gambar Paten Motor Listrik Garapan Honda Bocor, Pakai Basis CB125R?

Contoh ketika berkendara di jalanan yang menanjak, ataupun ketika ingin memindahkan motor yang tidak membutuhkan bukaan gas terlalu besar.

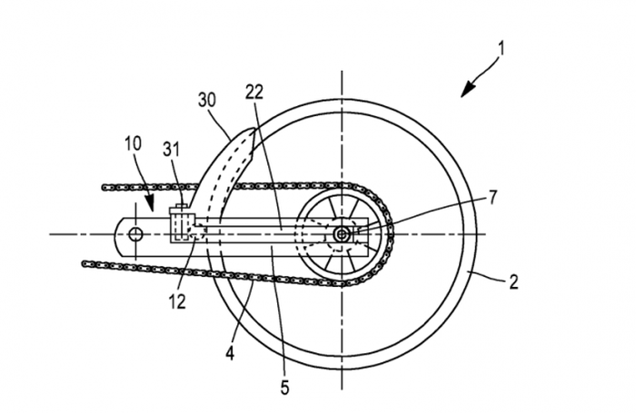
Tenaga motor listrik mini ini berasal dari baterai 3.6V, 2 Ah Li-ion yang dapat diisi ulang.

Motorcycle.com
Gambar paten sepatbor canggih milik Michelin.

Baterai ini pun juga terpasang di area sepatbor belakang rancangan Michelin ini.

Timbul pertanyaan, apakah konsep sepatbor belakang milik Michelin ini bakal menambah keausan ban?

Source : motorcycle.com,2banh.vn
Penulis : Yuka Samudera
Editor : Indra GT

KOMENTAR

Berkomentarlah secara bijaksana dan bertanggung jawab. Komentar sepenuhnya menjadi tanggung jawab komentator seperti diatur dalam UU ITE
Laporkan Komentar
Terima kasih. Kami sudah menerima laporan Anda. Kami akan menghapus komentar yang bertentangan dengan Panduan Komunitas dan UU ITE.

YANG LAINNYA

TERPOPULER

Tag Popular