Michelin Ungkap Konsep Sepatbor Belakang Canggih Pakai Motor Listrik!

Yuka Samudera - Sabtu, 23 Januari 2021 | 18:20 WIB
Motorcycle.com
Michelin ungkap konsep sepatbor belakang canggih pakai motor listrik!

MOTOR Plus-Online.com - Michelin ungkap konsep sepatbor belakang canggih pakai motor listrik!

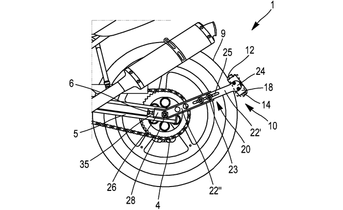
Baru-baru ini merek ban ternama dunia, Michelin, telah mengajukan hak paten pada sepatbor belakang yang unik.

Bukan cuma sepatbor belakang biasa,di sepatbor ini terdapat sebuah motor listrik kecil yang dipasang di bagian dalam sepatbor!

Konsep desainnya menyatakan bahwa sepatbor ini dipasang pada swingarm, mirip seperti mud guard.

Motorcycle.com
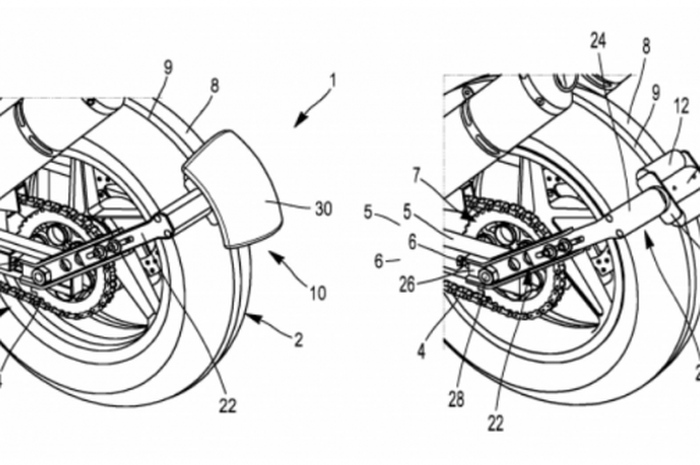
Ilustrasi bentuk sepatbor belakang canggih buatan Michelin nantinya.

Baca Juga: Nah Loh, Michelin Pusing Jelang Tes Pramusim MotoGP 2021 di Qatar

Baca Juga: Modal Gerinda Bisa Cukur Sepatbor Belakang, Bikin Tampilan Yamaha Aerox Makin Seksi

Sepatbor ini terhubung ke roda belakang, dan berfungsi juga sebagai dudukan plat nomor.

Nah dibalik sepatbor ini tersembunyi sebuah motor listrik kecil brother.

Motorcycle.com
Sepatbor canggih Michelin ini terpasang di swing arm belakang.

Motor listrik kecil ini dapat dikendalikan dari jarak jauh melalui sakelar di bagian kemudi.

Saat diaktifkan, motor listrik akan menekan roda, yang dapat digunakan untuk memutar roda, baik ke depan maupun ke belakang.

Source : motorcycle.com,2banh.vn
Penulis : Yuka Samudera
Editor : Indra GT

KOMENTAR

Berkomentarlah secara bijaksana dan bertanggung jawab. Komentar sepenuhnya menjadi tanggung jawab komentator seperti diatur dalam UU ITE
Laporkan Komentar
Terima kasih. Kami sudah menerima laporan Anda. Kami akan menghapus komentar yang bertentangan dengan Panduan Komunitas dan UU ITE.

YANG LAINNYA

TERPOPULER

Tag Popular