Kawasaki Bikin Gebrakan, Siapkan Motor 2-tak Injeksi Pakai Turbo

Reyhan Firdaus - Selasa, 16 Juli 2024 | 20:28 WIB
Kawasaki
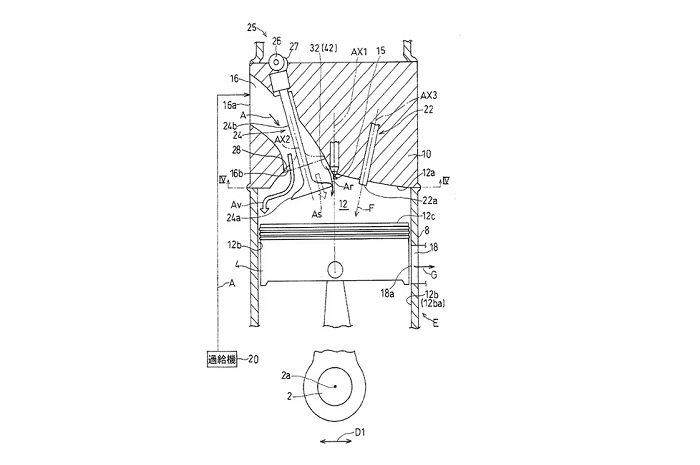
Gambar paten bagian mesin 2-tak Kawasaki terbaru

MOTOR Plus-online.com - Kawasaki memang dikenal rajin bikin gebrakan, agar berbeda dengan pabrikan lain.

Contohnya saat menghadirkan Kawasaki Ninja H2, yang pakai supercharger.

Begitu pula Kawasaki Ninja ZX-25R, yang menghidupkan lagi kelas sport 250 cc 4-silinder.

Buat gebrakan terbaru, Kawasaki berniat menghidupkan lagi mesin 2-tak.

Meski dianggap punah, motor bermesin 2-tak sebenarnya masih banyak dijual, meski kebanyakan motocross.

Makanya, penggemar 2-tak masih menunggu pabrikan bikin lagi, namun buat kebutuhan jalan raya.

Menjawab keinginan itu, Kawasaki disebut siapkan paten mesin baru tipe dua langkah.

Dikutip dari media Jerman Motorrad, Kawasaki sedang riset mesin 2-tak dengan injeksi elektronik.

Dipopulerkan KTM, penggunaan injeksi elektronik bikin motor 2-tak lebih stabil performanya.

Selain itu, injeksi elektronik bikin emisi gas buangnya rendah, masalah yang menghantui motor 2-tak.

Source : Motorradonline.de
Penulis : Reyhan Firdaus
Editor : Aong

KOMENTAR

Berkomentarlah secara bijaksana dan bertanggung jawab. Komentar sepenuhnya menjadi tanggung jawab komentator seperti diatur dalam UU ITE
Laporkan Komentar
Terima kasih. Kami sudah menerima laporan Anda. Kami akan menghapus komentar yang bertentangan dengan Panduan Komunitas dan UU ITE.

YANG LAINNYA

TERPOPULER

Tag Popular