Tag: michelin

MOTORACE

Jelang MotoGP Qatar 2021, Ini Dia Pilihan Kompon Ban Dari Michelin

5 Tahun yang lalu - Jelang balapan pertama di MotoGP Qatar 2021, ini dia pilihan kompon ban dari Michelin yang bisa digunakan para pembalap.

MOTOGUIDE

Terkenal Lebih Awet Dan Stabil Libas Tikungan, Apa Sih Ban Radial Itu?

5 Tahun yang lalu - Terkenal bisa lebih awet dan stabil untuk melibas tikungan dari ban jenis bias, apa sih ban radial itu?

MOTOLIFE

Sejarah Ban Radial di Dunia, Ternyata Pertama Kali Dibuat Pabrikan Ini

5 Tahun yang lalu - Sejarah ban radial di dunia, enggak nyangka pertama kali dibuat oleh pabrikan ini bro.

MOTORACE

Bos Ducati Pede Kalau GP21 Enggak Lagi Bermasalah Dengan Ban Michelin

5 Tahun yang lalu - Direktur Olahraga Ducati, Paolo Ciabatti pede kalau motor Desmosedici GP21 enggak lagi bermasalah dengan ban baru Michelin.

MOTOTECH

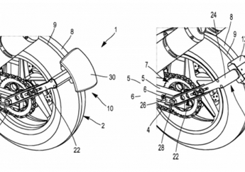
Michelin Ungkap Konsep Sepatbor Belakang Canggih Pakai Motor Listrik!

5 Tahun yang lalu - Michelin ungkap konsep sepatbor belakang canggih pakai motor listrik. Bakal membantu menambah torsi ban belakang untuk bergerak brother.

MOTORACE

Crew Chief MotoGP Sebut Bradl Pilihan Terbaik Gantikann Marc Marquez

5 Tahun yang lalu - Kepala kru alias crew chief Marc Marquez, Santiago Hernandez menyebut Stefan Bradl lebih baik dari Andrea Dovizioso buat menggantikan Marc Marquez.

MOTORACE

Nah Loh, Michelin Pusing Jelang Tes Pramusim MotoGP 2021 di Qatar

5 Tahun yang lalu - Nah loh, produsen ban Michelin pusing jelang tes pramusim MotoGP 2021 di Sirkuit Losail Qatar, kenapa ya?

MOTORACE

Jelang MotoGP 2021, Honda Gelar Konferensi Pers, Waduh Ada Apa Ya?

5 Tahun yang lalu - Jelang MotoGP 2021, Honda menggelar konferensi pers tentang hasil yang didapat pada tahun sebelumnya dan kondisi dari Marc Marquez.

MOTORACE

Bos Ducati Sebut GP20 Motor Kompetitif, Pembalap Yang Gak Konsisten

5 Tahun yang lalu - Direktur Olahraga Ducati, Paolo Ciabatti sebut Desmosedici GP20 motor yang kompetitif, hanya saja pembalapnya yang tidak konsisten

MOTORACE

Gak Juara di MotoGP 2020, Ducati Soroti Andrea Dovizioso dan Michelin

5 Tahun yang lalu - Menutup MotoGP 2020 dengan gagal juara, Ducati mendadak soroti Andrea Dovizioso dan Michelin, ada apa?

MOTORACE

Jelang MotoGP Portugal 2020, Michelin Hadirkan 4 Jenis Ban, Apa Saja?

5 Tahun yang lalu - Jelang MotoGP Portugal 2020, produsen ban Michelin menghadirkan 4 jenis ban yang akan digunakan di sirkuit Portimao, apa saja?

MOTORACE

Berani Banget, Valentino Rossi Kasih Kritikan Pedas Kepada Yamaha Karena Gagal Mengembangkan YZR-M1

5 Tahun yang lalu - Pembalap tim Monster Energy Yamaha, Valentino Rossi kasih kritikan pedas kepada Yamaha karena gagal mengembangkan YZR-M1.

MOTORACE

Jelang Dua Putaran MotoGP di Valencia, Michelin Bawa Berbagai Macam Ban Asimetris

5 Tahun yang lalu - Jelang dua putaran MotoGP di Valencia, Michelin membawa berbagai macam ban asimetris. Seperti apa sih?

MOTORACE

Mantap, Jelang MotoGP Aragon 2020 Michelin Menghadirkan Ban Khusus

5 Tahun yang lalu - Mantap, jelang MotoGP Aragon 2020 di sirkuit Motorland Aragon, Spanyol, Michelin akan menghadirkan ban khusus.

MOTORACE

Nah Loh, Pembalap Ini Curiga Tentang Hubungan Terlarang Antara KTM dan Michelin

5 Tahun yang lalu - Nah loh, pembalap tim Aprilia Racing Team Gresini, Aleix Espargaro curiga ada hubungan terlarang antara KTM dan Michelin.

MOTORACE

Buka-bukaan, Ini Rahasia Joan Mir Lebih Bisa Bertahan Dengan Ban Michelin Sampai Akhir Balap

5 Tahun yang lalu - Ini rahasia pembalap Suzuki Ecstar, Joan Mir bisa lebih bertahan dengan ban Michelin sampai akhir balapan.

MOTORACE

Buka-bukaan, Alex Marquez Ngaku Salah Pilih Kompon Ban di MotoGP Catalunya 2020, Gara-gara Pembalap KTM?

5 Tahun yang lalu - Buka-bukaan, pembalap Repsol Honda, Alex Marquez mengaku salah pilih kompon ban di MotoGP Catalunya 2020.

MOTORACE

Waduh, Danilo Petrucci Ungkap Desmosedici Miliknya Tidak Sekencang Dulu di Trek Lurus

5 Tahun yang lalu - Pembalap Mission Winnow Ducati, Danilo Petrucci ungkap motor Desmosedicinya tidak sekencang dulu di trek lurus.

TERPOPULER

Tag Popular