Kabel Rem Tak Terpakai Lagi, Teknologi Brake by Wire Untuk Sepeda Bisa Saja Dipasang ke Motor

Ardhana Adwitiya - Rabu, 26 Juni 2024 | 22:50 WIB
Visordown.com
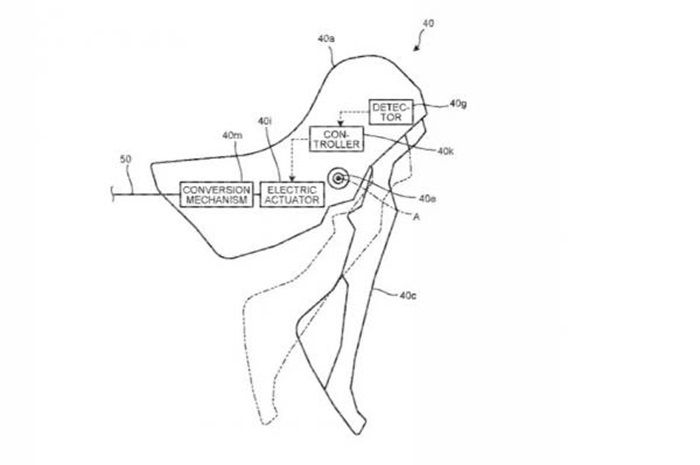
Gambar paten teknologi Brake by Wire buatan Shimano, pengereman tanpa kabel rem.

MOTOR Plus-online.com - Saat ini pengereman motor masih mengandalkan kabel rem.

Tetapi sebentar lagi nampaknya kabel rem bisa tidak terpakai lagi, teknologi Brake by Wire untuk sepeda sedang dibuat dan memungkinkan dipasang ke motor.

Sebenarnya teknologi ini bukan hal yang baru di mobil.

Namun hingga kini belum ada motor yang memakai rem elektronik tanpa kabel.

Bahkan sekelas motor balap MotoGP masih menggunakan kabel untuk menekan minyak rem.

Kini rem tanpa kabel pada motor semakin memungkinkan.

Pasalnya perusahaan teknologi sepeda, Shimano telah mematenkan rancangan Brake by Wire untuk sepeda.

Meski rem sepeda dan motor berbeda, tetapi hal ini bisa menjadi langkah awal dalam mendorong penerapan teknologi.

Baca Juga: Tuas Rem Belakang Vespa Matic Keras, Bengkel Spesialis Kasih Solusinya

Mengingat desain dan penerapan cakram antara sepeda dan motor sangat mirip.

Source : Visordown.com
Penulis : Ardhana Adwitiya
Editor : Aong

KOMENTAR

Berkomentarlah secara bijaksana dan bertanggung jawab. Komentar sepenuhnya menjadi tanggung jawab komentator seperti diatur dalam UU ITE
Laporkan Komentar
Terima kasih. Kami sudah menerima laporan Anda. Kami akan menghapus komentar yang bertentangan dengan Panduan Komunitas dan UU ITE.

YANG LAINNYA

TERPOPULER

Tag Popular